Snow Blowers HS HS1132 HS1132 TAS/A SZBF-1010001-9999999 TOOLS - Frisco Lawn & Power Equipment

Ref No
Part Number
Description
Serial Range
Qty
Price

Ref No
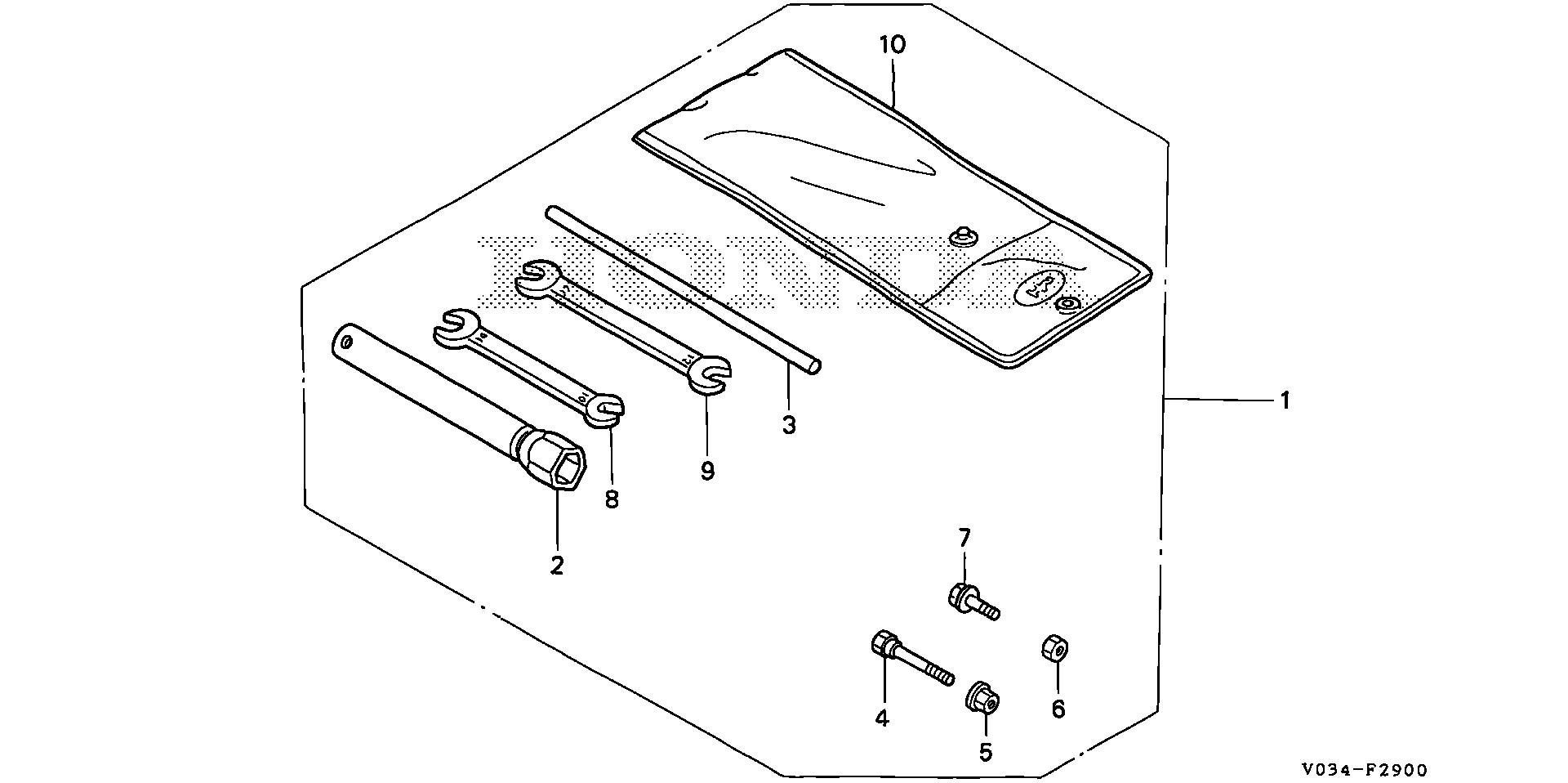
1
Part Number
89000-V03-010
Description
TOOL KIT (NOT AVAILABLE)
Serial Range
1004671 - 9999999

Ref No
2
Part Number
89216-809-000
Description
WRENCH, SPARK PLUG
Serial Range
1004671 - 9999999
Qty
Price
$8.60

Ref No
3
Part Number
89219-805-000
Description
HANDLE, BOX WRENCH
Serial Range
1000001 - 9999999
Qty
Price
$3.62

Ref No
4
Part Number
90102-732-010
Description
BOLT, LOCK
Serial Range
1000001 - 9999999
Qty
Price
$6.10

Ref No
5
Part Number
90114-SA0-000
Description
NUT, SELF-LOCK (6MM)
Serial Range
1000001 - 1004670
Qty
Price
$3.90

Ref No
7
Part Number
92101-06016-0A
Description
BOLT, HEX. (6X16)
Serial Range
1004671 - 9999999
Qty
Price
$1.78

Ref No
8
Part Number
99001-10140
Description
SPANNER (10X14)
Serial Range
1004671 - 9999999
Qty
Price
$4.06

Ref No
9
Part Number
99001-12170
Description
SPANNER (12X17)
Serial Range
1004671 - 9999999
Qty
Price
$9.82

Ref No
10
Part Number
89101-ME5-670
Description
BAG, TOOL
Serial Range
1000001 - 9999999