Lawn Mowers HRC HRC216 HRC216K1 HXAA MZAN-6100001-7999999 LABELS - Frisco Lawn & Power Equipment

Ref No
Part Number
Description
Serial Range
Qty
Price

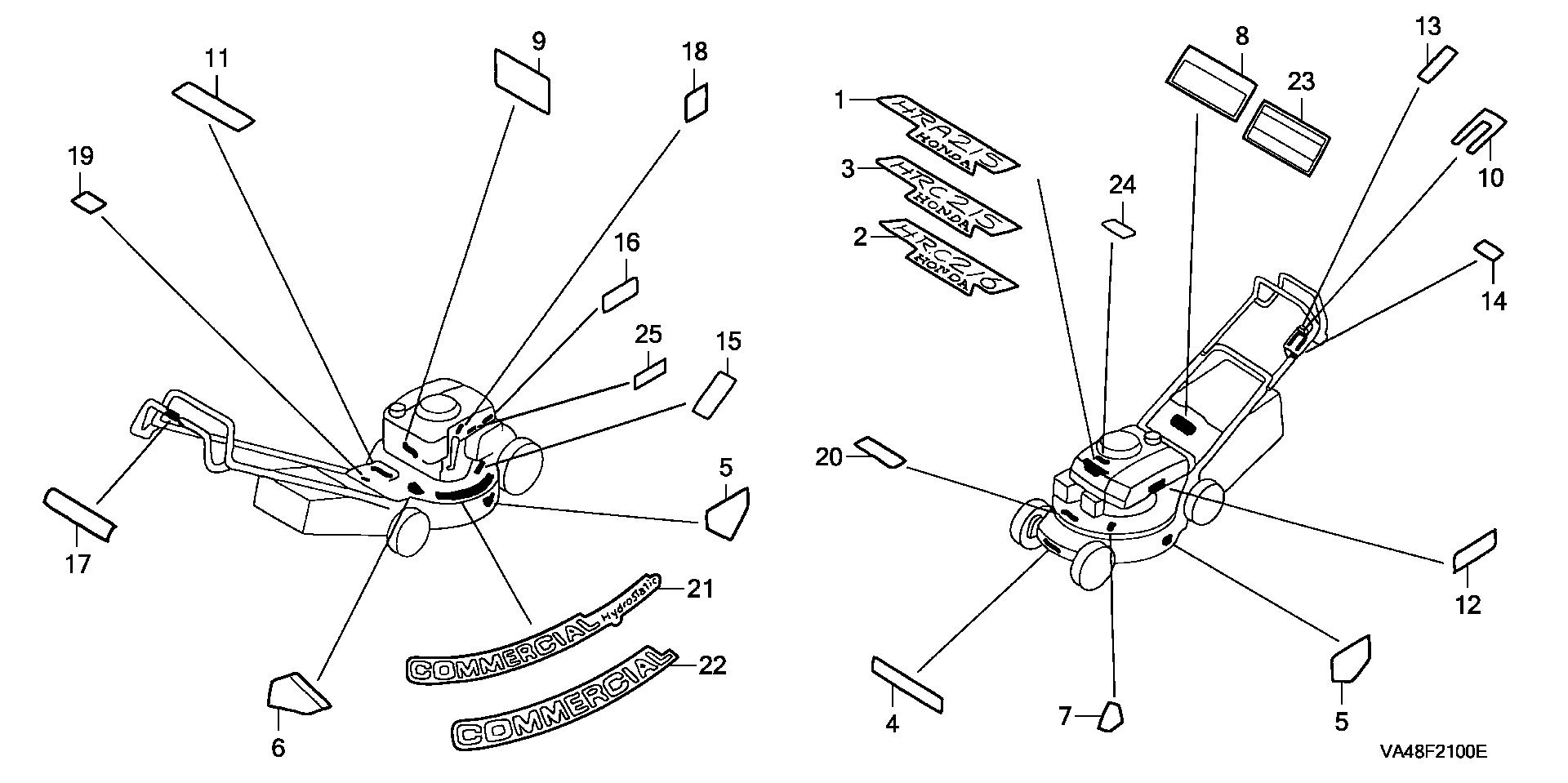
Ref No
5
Part Number
87104-VA2-000
Description
CAUTION C, HOUSING
Serial Range
1000001 - 9999999
Qty
Price
$1.78

Ref No
5
Part Number
87104-VA2-000
Description
CAUTION C, HOUSING
Serial Range
1000001 - 9999999
Qty
Price
$1.78

Ref No
6
Part Number
87104-VA2-000
Description
CAUTION C, HOUSING
Serial Range
1000001 - 9999999
Qty
Price
$1.78

Ref No
6
Part Number
87104-VA2-000
Description
CAUTION C, HOUSING
Serial Range
1000001 - 9999999
Qty
Price
$1.78

Ref No
7
Part Number
87104-VE2-000
Description
LABEL, STEP POSITION (ENGLISH)
Serial Range
6115443 - 9999999
Qty
Price
$1.76

Ref No
10
Part Number
87502-VA3-H00
Description
MARK, THROTTLE INDICATION (ENGLISH)
Serial Range
1000001 - 9999999
Qty
Price
$8.84

Ref No
15
Part Number
87539-VE2-000
Description
LABEL, HEAT WARNING
Serial Range
6111762 - 9999999
Qty
Price
$1.72

Ref No
17
Part Number
87588-VA3-J00
Description
MARK, BLADE CONTROL (ENGLISH)
Serial Range
1000001 - 9999999

Ref No
18
Part Number
87594-VA9-000
Description
MARK, OIL CAUTION
Serial Range
1000001 - 9999999

Ref No
21
Part Number
87602-VB5-P00
Description
MARK, SALES POINT (H.S.T.)
Serial Range
1000001 - 9999999
Qty
Price
$17.86

Ref No
23
Part Number
87114-VE2-010
Description
LABEL, WARNING (ENGLISH)
Serial Range
6111762 - 9999999
Qty
Price
$11.00

Ref No
24
Part Number
87101-VB5-A03
Description
MARK, EMBLEM
Serial Range
6107081 - 9999999

Ref No
25
Part Number
87603-VB5-000
Description
MARK, OIL RECOMMENDED
Serial Range
1000001 - 9999999
Qty
Price
$4.32