Generators ES ES6500 ES6500 A GX360-1000001-1017635 LABELS (1) - Frisco Lawn & Power Equipment

Ref No
Part Number
Description
Serial Range
Qty
Price

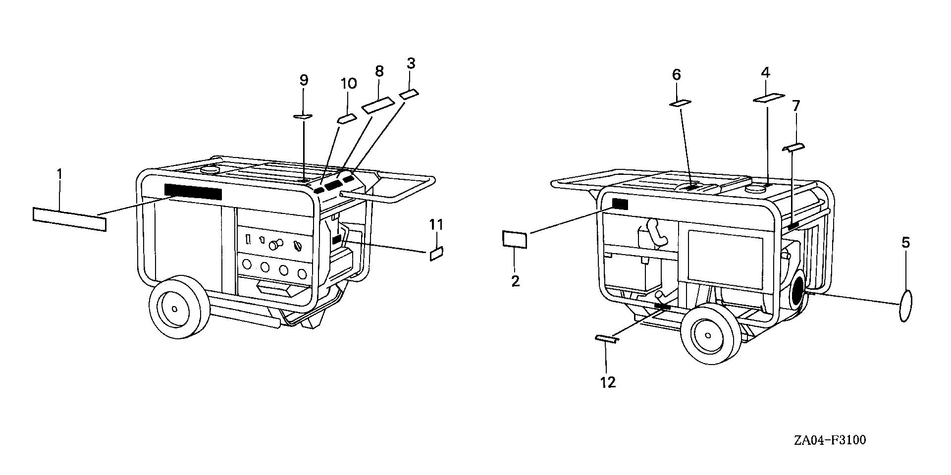
Ref No
1
Part Number
87101-ZA0-632
Description
EMBLEM
Serial Range
1000001 - 9999999
Qty
Price
$17.14

Ref No
2
Part Number
87150-ZA0-631
Description
MARK, SPECIFICATION
Serial Range
1000001 - 9999999

Ref No
4
Part Number
87522-883-660
Description
MARK, CAUTION (ENGLISH/FRENCH/SPANISH)
Serial Range
1139796 - 9999999
Qty
Price
$5.00

Ref No
5
Part Number
87530-889-890
Description
LABEL, C.D.I. OIL ALERT (NOT AVAILABLE)
Serial Range
1139796 - 9999999

Ref No
6
Part Number
87535-ZA0-000
Description
MARK, AIR CLEANER ARROW
Serial Range
1066454 - 9999999
Qty
Price
$1.90

Ref No
7
Part Number
87539-898-620
Description
MARK, EX. CAUTION (ENGLISH/FRENCH)
Serial Range
1000001 - 9999999
Qty
Price
$4.08

Ref No
8
Part Number
87551-ZA0-630
Description
MARK, CAUTION
Serial Range
1139796 - 9999999
Qty
Price
$11.36

Ref No
12
Part Number
87594-ZA0-630
Description
MARK, OIL CAUTION
Serial Range
1000001 - 9999999
Qty
Price
$4.06