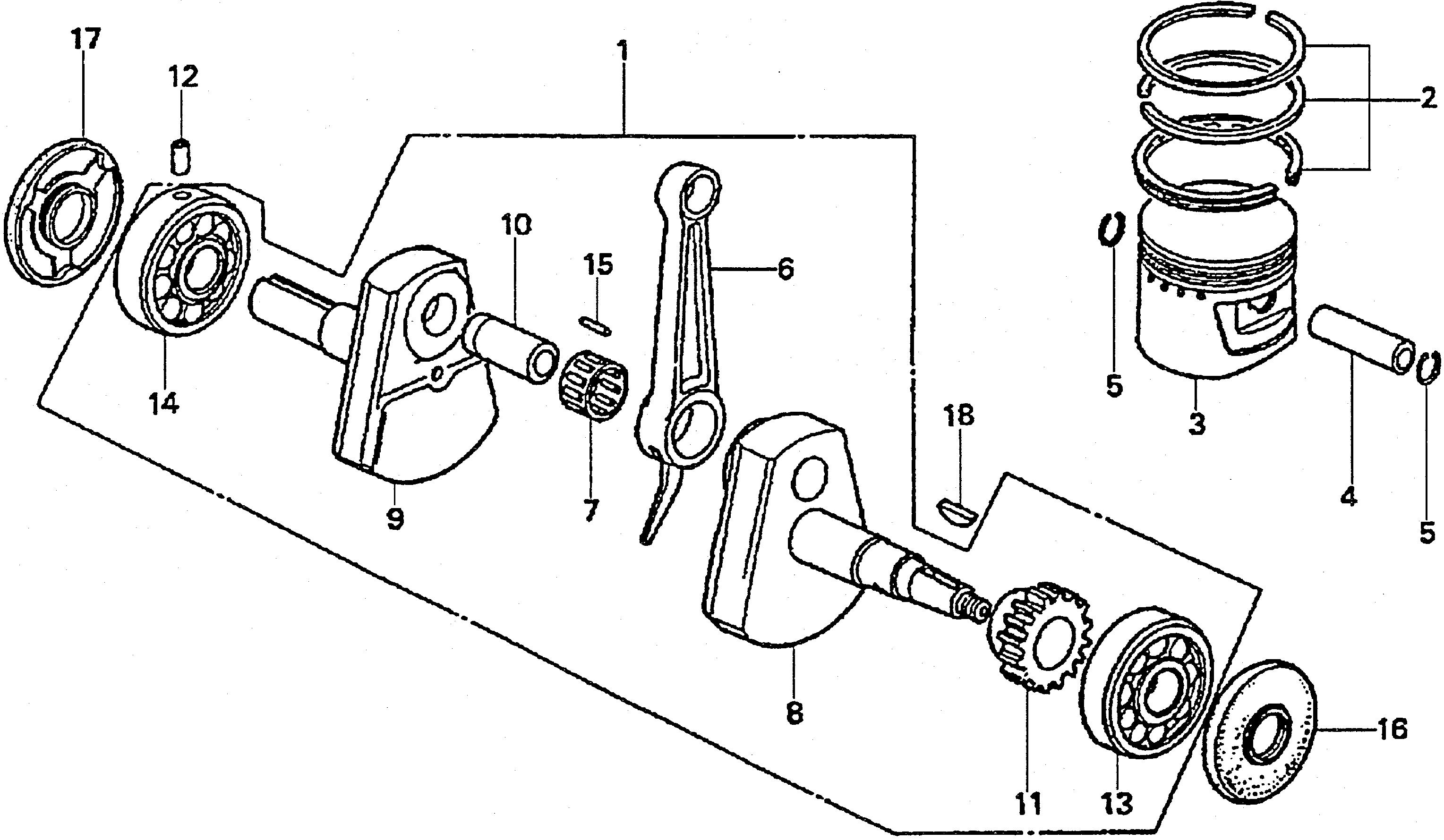
Generators ES ES3500 ES3500 A ES3500-1000032-1028641 CRANKSHAFT@PISTON - Frisco Lawn & Power Equipment

Ref No
Part Number
Description
Serial Range
Qty
Price

Ref No
1
Part Number
13000-874-000
Description
CRANKSHAFT (NOT AVAILABLE)
Serial Range
1000001 - 9999999

Ref No
2
Part Number
13010-874-000
Description
RING SET, PISTON (STD) (NOT AVAILABLE)
Serial Range
1000001 - 9999999

Ref No
2
Part Number
13011-874-000
Description
RING SET, PISTON (OVER SIZE) (0.25)
Serial Range
1000001 - 9999999
Qty
Price
$37.90

Ref No
2
Part Number
13012-874-000
Description
RING SET, PISTON (OVER SIZE) (0.50) (NOT AVAILABLE)
Serial Range
1000001 - 9999999

Ref No
2
Part Number
13013-874-000
Description
RING SET, PISTON (OVER SIZE) (0.75) (NOT AVAILABLE)
Serial Range
1000001 - 9999999

Ref No
3
Part Number
13101-874-000
Description
PISTON (STD) (NOT AVAILABLE)
Serial Range
1000001 - 9999999

Ref No
3
Part Number
13102-874-000
Description
PISTON (OVER SIZE) (0.25) (NOT AVAILABLE)
Serial Range
1000001 - 9999999

Ref No
3
Part Number
13103-874-000
Description
PISTON (OVER SIZE) (0.50) (NOT AVAILABLE)
Serial Range
1000001 - 9999999

Ref No
3
Part Number
13104-874-000
Description
PISTON (OVER SIZE) (0.75) (NOT AVAILABLE)
Serial Range
1000001 - 9999999

Ref No
4
Part Number
13111-809-010
Description
PIN, PISTON (NOT AVAILABLE)
Serial Range
1000001 - 9999999

Ref No
5
Part Number
94601-19000
Description
CLIP, PISTON PIN (19MM)
Serial Range
1000001 - 9999999
Qty
Price
$0.76

Ref No
6
Part Number
13201-874-300
Description
ROD, CONNECTING (NOT AVAILABLE)
Serial Range
1000001 - 9999999

Ref No
7
Part Number
13211-809-000
Description
RETAINER, ROLLER
Serial Range
1000001 - 9999999
Qty
Price
$46.86

Ref No
8
Part Number
13311-874-300
Description
CRANKSHAFT, R.
Serial Range
1000001 - 9999999

Ref No
9
Part Number
13321-874-300
Description
CRANKSHAFT, L.
Serial Range
1000001 - 9999999

Ref No
10
Part Number
13381-809-010
Description
PIN, CRANK (N/A: SEE ASSEMBLY)
Serial Range
1000001 - 9999999

Ref No
11
Part Number
14311-823-000
Description
GEAR, TIMING
Serial Range
1000001 - 9999999

Ref No
12
Part Number
90705-259-020
Description
PIN, KNOCK (7X12) (NOT AVAILABLE)
Serial Range
1000001 - 9999999

Ref No
13
Part Number
91001-809-003
Description
BEARING, RADIAL BALL (6306S) (NOT AVAILABLE)
Serial Range
1000001 - 9999999

Ref No
14
Part Number
91002-874-003
Description
BEARING, SPECIAL BALL (6306S6HS) (NOT AVAILABLE)
Serial Range
1000001 - 9999999

Ref No
15
Part Number
91101-809-020
Description
ROLLER, ROD (3X16)
Serial Range
1000001 - 9999999

Ref No
16
Part Number
91201-809-003
Description
OIL SEAL (30759) (NOT AVAILABLE)
Serial Range
1000001 - 9999999

Ref No
16
Part Number
91201-809-015
Description
OIL SEAL (PJ30759)
Serial Range
1000001 - 9999999

Ref No
17
Part Number
91202-809-003
Description
OIL SEAL (PJ30779)
Serial Range
1000001 - 9999999
Qty
Price
$23.14

Ref No
18
Part Number
94401-25180
Description
KEY, WOODRUFF (25X18)
Serial Range
1000001 - 9999999
Qty
Price
$1.68