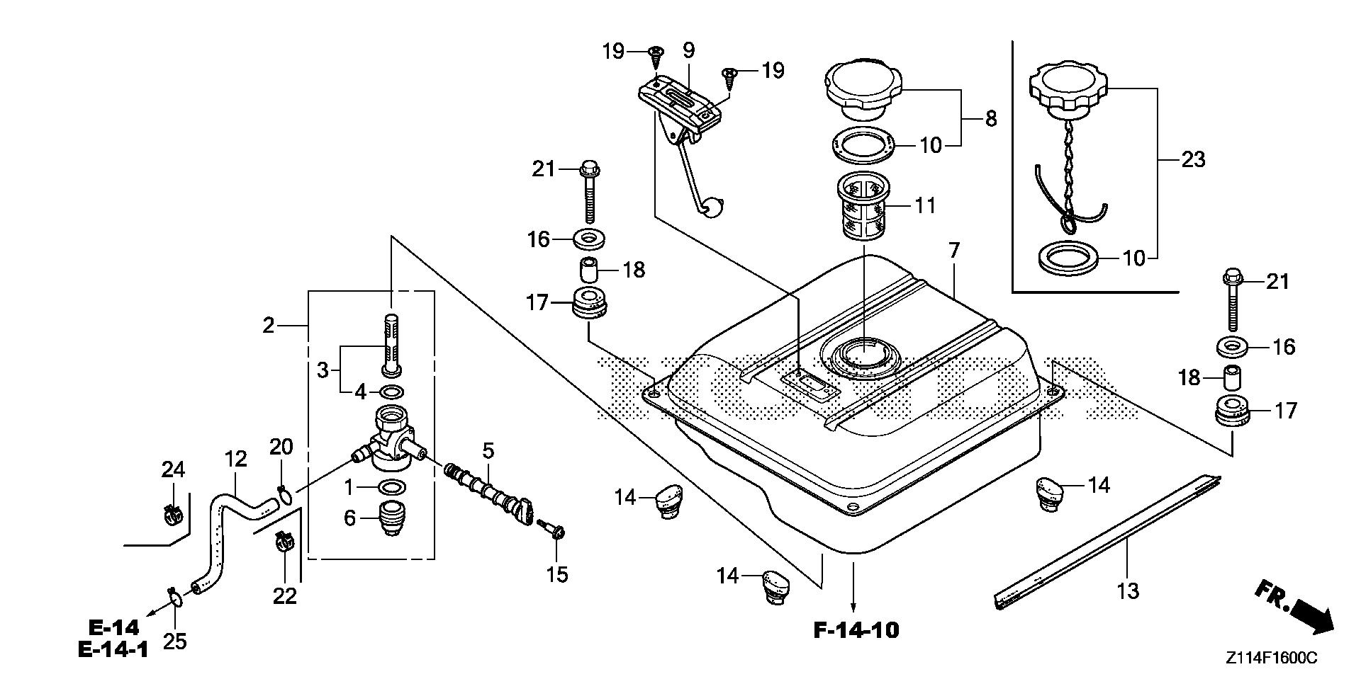
Ref No
Part Number
Description
Serial Range
Qty
Price
Ref No 1
Part Number 16173-001-004
Description O-RING
Serial Range 1000001 - 9999999
Ref No 2
Part Number 16950-Z11-003
Description PETCOCK ASSY.
Serial Range 1000001 - 9999999
Qty
Price $83.18
Add To Cart
Ref No 3
Part Number 16952-KJ9-752
Description SCREEN SET, FUEL STRAINER
Serial Range 1000001 - 9999999
Ref No 4
Part Number 16958-397-771
Description O-RING (9.0X1.3)
Serial Range 1000001 - 9999999
Qty
Price $7.10
Add To Cart
Ref No 5
Part Number 16963-Z11-000
Description LEVER, PETCOCK
Serial Range 1000001 - 9999999
Qty
Price $4.02
Add To Cart
Ref No 6
Part Number 16967-GA6-671
Description CUP, FUEL STRAINER
Serial Range 1000001 - 9999999
Qty
Price $30.12
Add To Cart
Ref No 7
Part Number 17510-Z11-000ZA
Description TANK, FUEL *R280* (POWER RED)
Serial Range 1000001 - 9999999
Qty
Price $265.52
Add To Cart
Ref No 8
Part Number 17620-899-023
Description CAP, FUEL FILLER
Serial Range 1000001 - 9999999
Qty
Price $40.50
Add To Cart
Ref No 9
Part Number 17630-Z11-A31
Description METER ASSY., FUEL
Serial Range 1000001 - 9999999
Ref No 10
Part Number 17631-899-000
Description GASKET, FUEL FILLER CAP
Serial Range 1000001 - 9999999
Ref No 10
Part Number 17631-899-010
Description GASKET, FUEL FILLER CAP
Serial Range 1000001 - 9999999
Ref No 11
Part Number 17672-899-000
Description FILTER, FUEL
Serial Range 1000001 - 9999999
Qty
Price $17.30
Add To Cart
Ref No 12
Part Number 17701-Z11-000
Description TUBE, FUEL TANK (ENGINE NO.)
Serial Range 1000001 - 4004556
Qty
Price $5.42
Add To Cart
Ref No 12
Part Number 17701-ZF6-F43
Description TUBE, FUEL TANK (FKM)
Serial Range 4004557 - 9999999
Qty
Price $16.64
Add To Cart
Ref No 13
Part Number 63133-Z11-000
Description SEAL, FR. SEPARATOR
Serial Range 1000001 - 9999999
Qty
Price $17.04
Add To Cart
Ref No 14
Part Number 76122-952-000
Description STOPPER, DISCHARGE GUARD
Serial Range 1000001 - 9999999
Qty
Price $4.62
Add To Cart
Ref No 15
Part Number 90105-ZT3-000
Description SCREW, PAN (4X19)
Serial Range 1000001 - 9999999
Qty
Price $2.36
Add To Cart
Ref No 16
Part Number 90501-Z15-000
Description WASHER (6MM)
Serial Range 1000001 - 9999999
Qty
Price $3.58
Add To Cart
Ref No 17
Part Number 90851-898-000
Description RUBBER, TANK CUSHION
Serial Range 1000001 - 9999999
Qty
Price $5.46
Add To Cart
Ref No 18
Part Number 91551-898-000
Description COLLAR, TANK CUSHION
Serial Range 1000001 - 9999999
Qty
Price $5.44
Add To Cart
Ref No 19
Part Number 93600-05010-0A
Description SCREW, FLAT (5X10)
Serial Range 1000001 - 9999999
Qty
Price $0.96
Add To Cart
Ref No 20
Part Number 95002-02080
Description CLIP, TUBE (B8) (ENGINE NO.)
Serial Range 1000001 - 4005086
Qty
Price $2.20
Add To Cart
Ref No 20
Part Number 95002-02080
Description CLIP, TUBE (B8) (ENGINE NO.)
Serial Range 1000001 - 4005086
Qty
Price $2.20
Add To Cart
Ref No 21
Part Number 95701-06022-07
Description BOLT, FLANGE (6X22)
Serial Range 4137486 - 9999999
Qty
Price $1.14
Add To Cart
Ref No 22
Part Number 95002-40800-08
Description CLAMP, TUBE (D8) (ENGINE NO.)
Serial Range 4005087 - 9999999
Qty
Price $2.74
Add To Cart
Ref No 22
Part Number 95002-40800-08
Description CLAMP, TUBE (D8) (ENGINE NO.)
Serial Range 4005087 - 9999999
Qty
Price $2.74
Add To Cart
Ref No 24
Part Number 95002-40800-08
Description CLAMP, TUBE (D8) (ENGINE NO.)
Serial Range 4005087 - 9999999
Qty
Price $2.74
Add To Cart
Ref No 24
Part Number 95002-40800-08
Description CLAMP, TUBE (D8) (ENGINE NO.)
Serial Range 4005087 - 9999999
Qty
Price $2.74
Add To Cart
Ref No 25
Part Number 95002-02080
Description CLIP, TUBE (B8) (ENGINE NO.)
Serial Range 1000001 - 4005086
Qty
Price $2.20
Add To Cart
Ref No 25
Part Number 95002-02080
Description CLIP, TUBE (B8) (ENGINE NO.)
Serial Range 1000001 - 4005086
Qty
Price $2.20
Add To Cart