Description MARK, SIDE EMBLEM (EB12D) (NOT AVAILABLE)
Serial Range 1000001 - 9999999
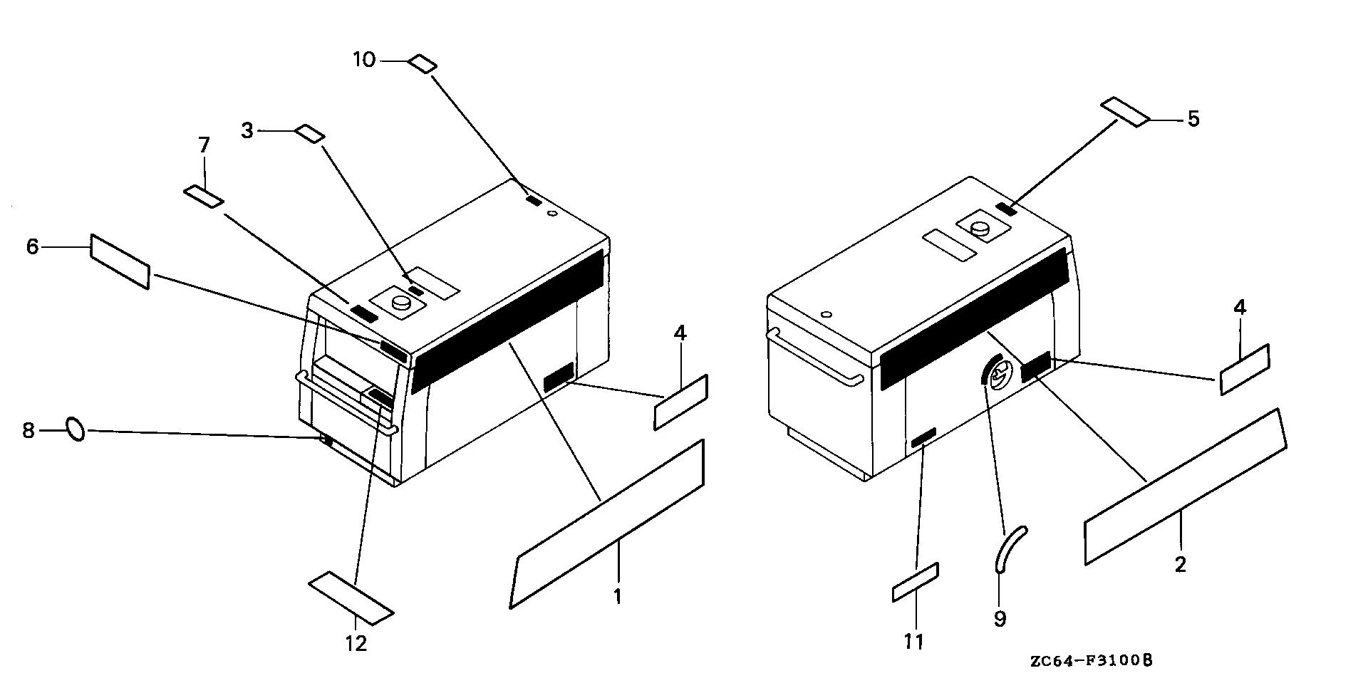
Ref No 5
Part Number 87168-ZC3-630
Description LABEL, RAIN WARNING (ENGLISH)
Serial Range 1000625 - 9999999
Qty
Price $5.22
Ref No 6
Part Number 87301-ZC6-000
Description MARK, FR. EMBLEM
Serial Range 1000001 - 9999999
Ref No 7
Part Number 87516-ZC6-630
Description LABEL, OPERATOR WARNING (A)
Serial Range 1000001 - 9999999
Ref No 8
Part Number 87534-ZC6-000
Description MARK, GROUND
Serial Range 1000001 - 9999999
Qty
Price $4.52
Ref No 9
Part Number 87536-ZC6-690
Description MARK, HANDLE INDICATION (ENGLISH)
Serial Range 1000001 - 9999999
Ref No 10
Part Number 87539-737-E80
Description MARK, EX. CAUTION (A)
Serial Range 1000001 - 9999999
Qty
Price $7.12
Ref No 11
Part Number 87553-ZC6-690
Description MARK, DRAIN INDICATION (ENGLISH)
Serial Range 1000001 - 9999999
Ref No 12
Part Number 87624-ZB4-E30
Description MARK, WARNING (GFCI)
Serial Range 1000001 - 9999999
Qty
Price $18.84
Item added to your cart
California Prop 65 Information
Internal Combustion Engine Products:
WARNING:
This product can expose you to chemicals including soots, tars, and mineral oils, which are known to the State of California to cause cancer,
and carbon monoxide, which is known to the State of California to cause birth defects or other reproductive harm. For more information go to
www.P65Warnings.ca.gov.
Miimo Robotic Mower
WARNING:
This product can expose you to chemicals including lead and lead compounds, which are known to the State of California to cause cancer and birth defects or other reproductive harm.
For more information go to
www.P65Warnings.ca.gov.